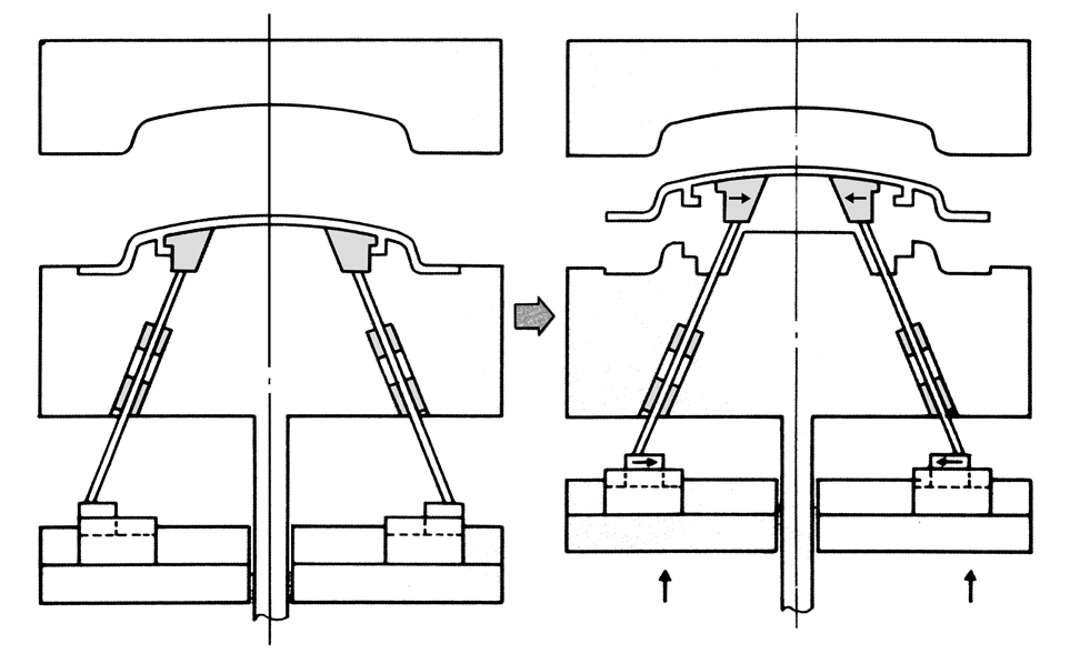
Carros eyectores inclinados libres de mantenimiento para fácil extracción de moldes con formas negativas. Todos los carros disponen de autolubricación hasta los 300°C. El eje está fijado con tornillos y pasadores o sujeción entre placas eyectoras.
| Modelo | | | | | |
| Diametro | Ø8 – 45mm | Ø12 – 45mm | Ø16 – 30mm | Ø8 – 40mm | Ø16 – 40mm |
| Angulo de trabajo | max. 30° | max. 20° | max. 30° | max. 30° | max. 30° |
| Caracteristicas | Variante con double ancho | Modelo de pared estrecha con refrigeración del eje | conexiones de refrigeración por agua dentro del molde | Carro inclinado (0° - 20°) | Carro inclinado (0° - 20°) con tornillo de ajuste |
